Читайте новини і аналітику про ритейл та e-commerce в Україні на нашій сторінці в Facebook, на нашому каналі в Telegram, а також підписуйтеся на щотижневу email розсилку.
Amazon планирует установить док-станции для зарядки дронов на фонарных столбах
plus.google.com
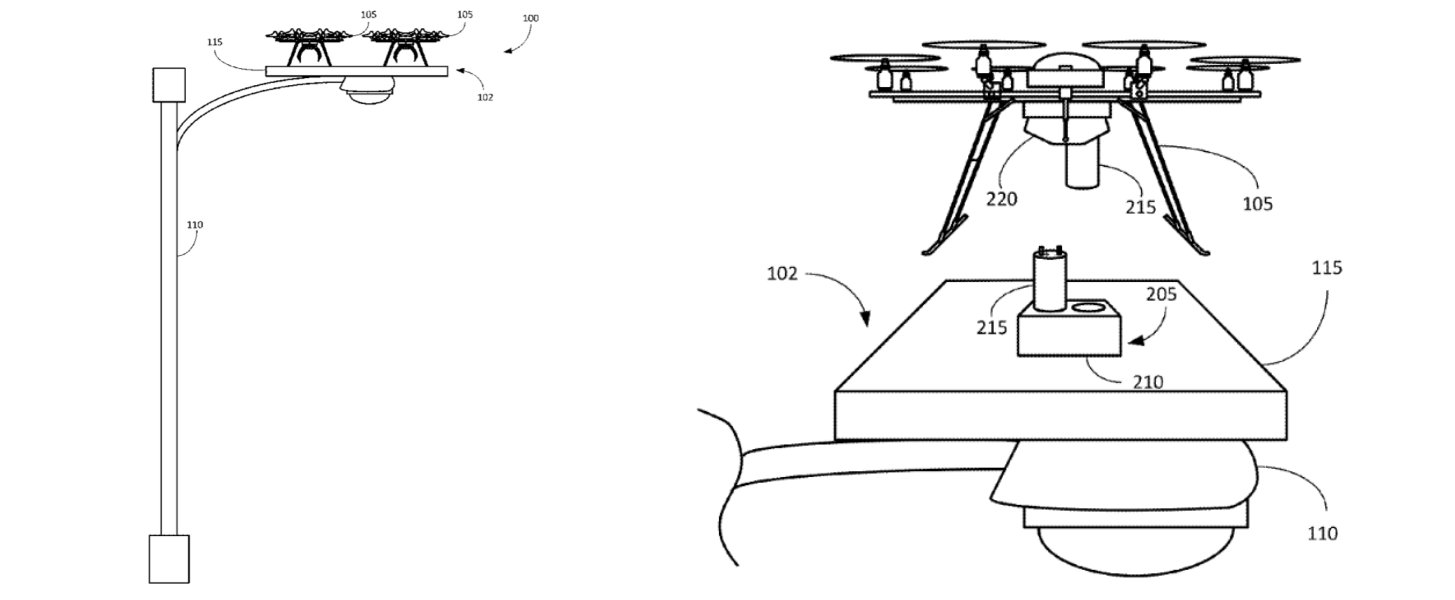
Американcкий онлайн-ритейлер Amazon планирует установить док-станции для зарядки беспилотных летательных аппаратов (БПЛА) на фонарных столбах. Как сообщает CNBC, компания получила патент на оборудование вертикальных конструкций специальными площадками для дронов. Об этом пишет Е-pepper.ru
Док-станции позволят БПЛА преодолевать более длинные расстояния, поскольку оператор сможет при необходимости зарядить устройство на одной из ближайших площадок. Кроме того, станции смогут послужить укрытием для устройств при неблагоприятной для полетов погоде.
Согласно тексту патента, Amazon хочет размещать специальные площадки не только на фонарных столбах, но и на других вертикальных конструкциях, включая шпили церквей, электрические столбы, вышки сотовой связи, а также крыши высотных зданий.

Кроме того, ритейлер рассматривает возможность использования станций в качестве пункта передачи заказа. После приземления дрон оставит посылку на специальной платформе, после чего с помощью «вакуумной трубы, лифта или конвейера» заказ будет передан курьеру.
Amazon активно использует автоматизированные устройства для увеличения эффективности и сокращения расходов. В частности, роботы Kiva позволили компании сократить операционные расходы каждого из складов на 20% или $22 млн.
Для еще более существенного сокращения расходов на зарплату сотрудникам Deutsche Bank посоветовал Amazon заняться разработкой беспилотных грузовиков. В феврале патент на подобные устройства получила компания Google. Предполагается, что кузов грузовика будет напоминать постамат на колесах из-за расположенных рядами ячеек, защищенных PIN-кодом.
